0571-64618808
杭州Kaiyun开云阀门有限公司

科技突破未来 品质创造价值

首页 产品中心 消防阀门系统 蝶阀

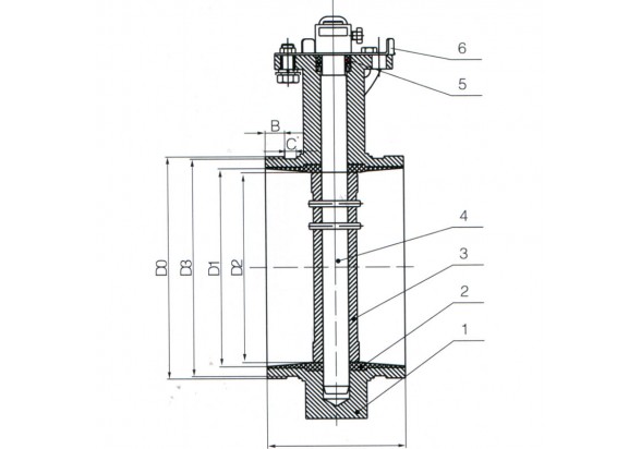
沟槽(卡箍)手柄蝶阀

产品概述:

手柄沟槽蝶阀结构简单, 性能优良, 使用广泛。 主要用于截断阀使用, 该产品可安装在石油、 化工、 食品、 医药、 轻纺、 造纸、 水电、船舶、 城市给排水、 冶炼、 能源等系统中一切腐蚀性、 非腐蚀性的气体、 液体、 半流体、 以及固体粉末管线和容器上作为调节和截流装置使用。

该产品已通过国家固定灭火系统和耐火构件质量监督检验中心检验认证。


咨询我们
  • 技术参数
  • 外型尺寸
  • 零件材料
  • 下载中心
  • 1610586939(1).jpg


  • 1610587002(1).jpg


  • 1610586974(1).jpg